End plate connection with four bolts in row

This article is also available in:
This is a selected chapter from book Component-based finite element design of steel connections by prof. Wald et al. The chapter is focused on verification of end plate connection with four bolts in row

Description

This study is focused on the verification of the component-based finite element method (CBFEM) for the resistance of the end plate connection with four bolts in a row to an analytical model (AM), and a research-oriented finite element model (ROFEM) validated on experiments.

Analytical model

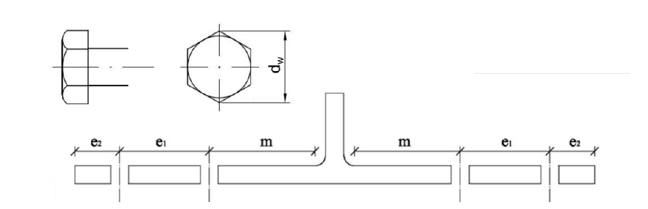
The bolt resistance in shear and tension and the plate resistance in bearing and punching shear are designed according to Tab. 3.4, Chapter 3.6.1 in EN 1993-1-8:2006. The equivalent T-stub in tension, according to Chapter 6.2.4, was modified by Jaspart et al. (2010) , see Fig. 5.7.1 and Tab. 5.7.1.

inline image in article

\[ \textsf{\textit{\footnotesize{Fig. 5.7.1 Failure modes of T-stub with four bolts in a row: mode 1 (left), mode 2 (middle), mode 3 (right)}}}\]

Tab. 5.7.1 Failure modes of T-stub with four bolts in a row (Jaspart et al. 2010)

inline image in article

In Tab 5.7.1 is 𝐹t,Rd the bolt tensile resistance, 𝑒w=𝑑w/4, 𝑑w is the diameter of the washer, or the width across points of the bolt head or nut, as relevant, π‘š, 𝑛=𝑒1+𝑒2;⁑𝑛≀1.25π‘š, 𝑛1=𝑒1, 𝑛2=𝑒2;⁑𝑛2≀1,25π‘š+𝑛1 see Fig. 5.8.2, 𝑀pl,1,Rd=0.25𝑙eff,1𝑑f2𝑓y/𝛾M0, 𝑀pl,2,Rd=0.25𝑙eff,2𝑑f2𝑓y/𝛾M0, 𝑙eff is effective length, 𝑑f is the flange thickness, and 𝑓y is the yield strength, see Fig. 5.7.2.

inline image in article

\[ \textsf{\textit{\footnotesize{Fig. 5.7.2 T-stub geometry with four bolts in a row}}}\]

Validation and verification of resistance

Design resistances calculated by CBFEM were compared with the results of the analytical model (ZakouΕ™il, 2019) and experiments with research-oriented finite element model (Samaan et al. 2017), see Fig. 5.7.3. The results are summarized in Fig. 5.7.4. Bolt grade 8.8 and steel grade S450 were used. The yield and tensile strengths correspond closely to the experimental values, e.g. bolt yield strength is 600 MPa, bolt tensile strength is 800 MPa.

inline image in article

\[ \textsf{\textit{\footnotesize{Extended unstiffened end plate labeled ENS}}}\]

inline image in article

\[ \textsf{\textit{\footnotesize{Flushed end plate labeled F}}}\]

inline image in article

\[ \textsf{\textit{\footnotesize{Extended stiffened end plate labeled EX}}}\]

\[ \textsf{\textit{\footnotesize{Fig. 5.7.3 Tested specimens}}}\]

The bending moment resistance determined by CBFEM is usually between resistances determined by the component method and experimentally. Table 5.7.2 shows the comparison between the CM, CBFEM, ROFEM, and experimental resistances for the specimens with end plate thicknesses of 20 mm and 32 mm. Both the component method and CBFEM underestimate the resistance of the specimen with a flushed end plate. 

Tab. 5.7.2 Comparison between the CM , ROFEM, CBFEM, and Experiment

inline image in article

Table 5.7.3 and Fig. 5.7.4 show verification of CBFEM to CM for models ENS with different end plate thickness, bolt diameter, and beam height

Tab. 5.7.3 Verification CBFEM to CM ENS

inline image in article
inline image in article
inline image in article
inline image in article

\[ \textsf{\textit{\footnotesize{Fig. 5.7.4 Verification of CBFEM to CM}}}\]

The results of sensitivity studies are summarized in plots in Fig. 5.7.5, Fig. 5.7.6, Fig. 5.7.7 

inline image in article

\[ \textsf{\textit{\footnotesize{Fig. 5.7.5 Sensitivity study for plate thickness}}}\]

inline image in article

\[ \textsf{\textit{\footnotesize{Fig. 5.7.6 Sensitivity study for bolt diameter}}}\]

inline image in article

\[ \textsf{\textit{\footnotesize{Fig. 5.7.7 Sensitivity study for beam height}}}\]

Table 5.7.4 and Fig. 5.7.8 show verification of CBFEM to CM for models F with different end plate thickness and bolt diameter 

Tab. 5.7.4 Verification CBFEM to CM F

inline image in article
inline image in article
inline image in article

\[ \textsf{\textit{\footnotesize{Fig. 5.7.8 Verification of CBFEM to CM}}}\]

The results of sensitivity studies are summarized in plots in Fig. 5.7.9 and 5.7.10

inline image in article

\[ \textsf{\textit{\footnotesize{Fig. 5.7.9 Sensitivity study for plate thickness}}}\]

inline image in article

\[ \textsf{\textit{\footnotesize{Fig. 5.7.10 Sensitivity study for bolt diameter}}}\]

Table 5.7.5 and Fig. 5.7.11 show verification of CBFEM to CM for models F with different end plate thickness and bolt diameter 

Tab. 5.7.5 Verification CBFEM to CM EX

inline image in article
inline image in article
inline image in article

\[ \textsf{\textit{\footnotesize{Fig. 5.7.11 Verification of CBFEM to CM}}}\]

The results of sensitivity studies are summarized in plots in Fig. 5.7.12 and 5.7.13. 

inline image in article

\[ \textsf{\textit{\footnotesize{Fig. 5.7.12 Sensitivity study for plate thickness}}}\]

inline image in article

\[ \textsf{\textit{\footnotesize{Fig. 5.7.13 Sensitivity study for bolt diameter}}}\]

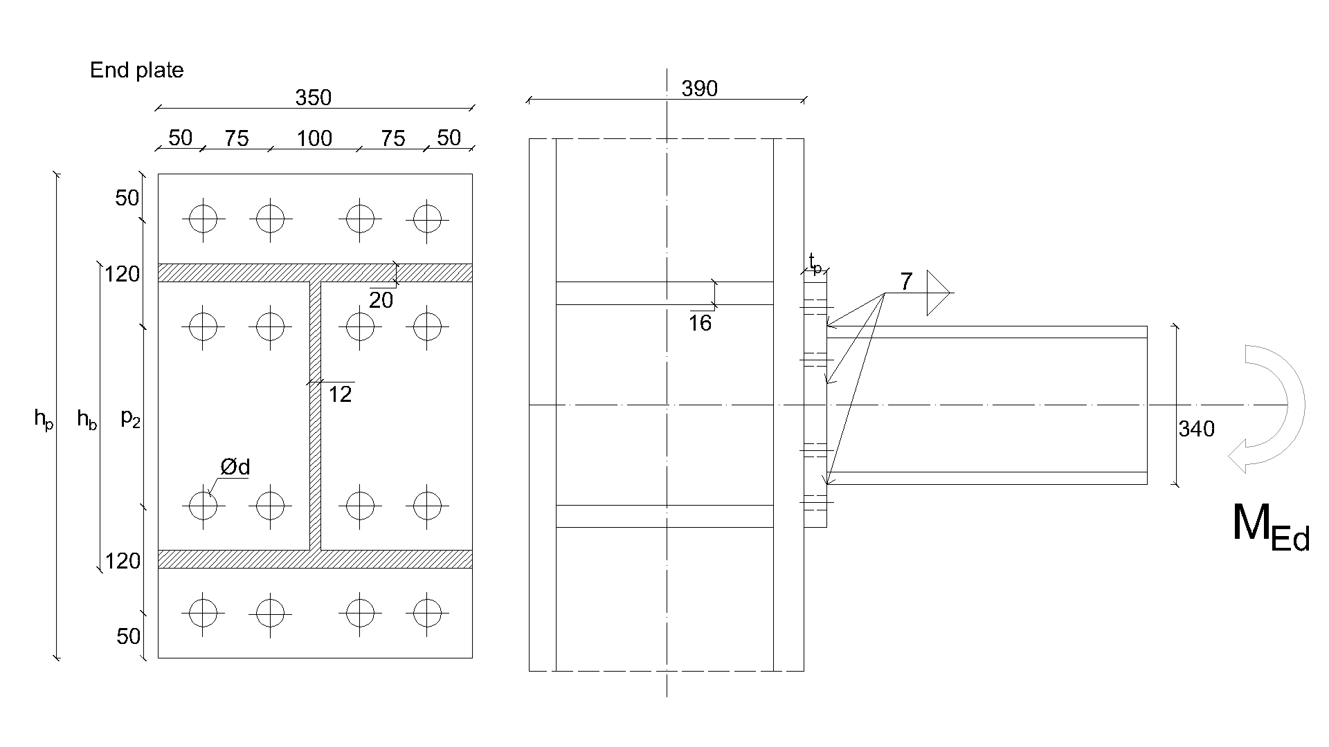
Benchmark example

Inputs

  • Steel S450

Column

  • Rolled I
  • h = 390mm
  • b = 350mm
  • tf = 20mm
  • tw = 12mm
  • r = 27mm

Column stiffeners

  • ts = 16mm

Beam

  • Rolled I
  • hb = 340mm
  • bb = 350mm
  • tf = 20mm
  • tw = 12mm
  • r = 27mm

End plate

  • tp = 20mm
  • bp = 350mm
  • hp= 540mm

Bolts

  • 4 rows x 4 x M16 8.8
  • Distances e= 50 mm, p1 = 120 mm, p2 = 100mm, e2= 50mm, w1 = 75mm, w2 = 100mm

Welds

  • aw = 7mm

Outputs

  • Design resistance FRd = 247 kN
  • Critical components are bolts with forces increased by the prying of the end plate
inline image in article

\[ \textsf{\textit{\footnotesize{Fig. 5.7.14 Benchmark example}}}\]


Sample files